مکانیزم میل گاردان
Driveshaft mechanism
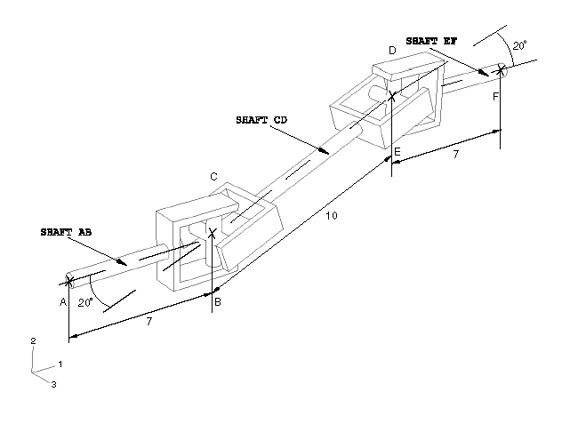
این مثال استفاده از رابطها را برای مدلسازی مکانیزم میل گاردان نشان میدهد.
در این صفحه بحث میشود:
هندسه و مدل
تعاملات مدل
نتایج و بحث
فایلهای ورودی
ارقام
این مثال استفاده از رابطها را برای مدلسازی مکانیزم میل گاردان نشان میدهد.
در این صفحه بحث میشود:
هندسه و مدل
تعاملات مدل
نتایج و بحث
فایلهای ورودی
ارقام
فایلهای ورودی
مرجع نیازمندی های مختلف درباره نرم افزار آباکوس، تمرین، مثال، انجام پروژه، اجاره ابررایانه برای اجرای آباکوس
تهران، ميدان ولي عصر ، دانشکده مكانيك امیرکبیر ، طبقه منفی یک، مرکز نوآوری – کدپستی 1591630043
02188769296
09022113687
شنبه تا چهارشنبه: 8 تا 20
پنج شنبه: 8 تا 18

مکانیسم ژنو
دیدگاه خود را ثبت کنید
تمایل دارید در گفتگوها شرکت کنید؟در گفتگو ها شرکت کنید.